최근 검색어
스페이스X에 납품되는
프랑스 와이어 벤딩기계
NUMALLIANCE
NETSOL
공식대리점
디씨티 코리아
자동온도 조절 솔루션
Since 1927
Vernet Group
추천 검색어
#ITT Canon 대리점
#와이어 벤딩기계
#GGB코리아 베어링
#온도 조절 카트리지
#열전 액추에이터
한국어
제조사 검색
대리점 검색
스토어
등록 서비스
기업 등록
대리점 등록
수출 서비스
코머신
고객지원
기업 등록
지금 보고 계신 제품의
제조사
에요
(주)레베산업
공식 홈페이지
052-265-9752
문의하기
지금 보고 계신 제품의
제조사
에요
(주)레베산업
홈
제조사 검색
(주)레베산업
하우징
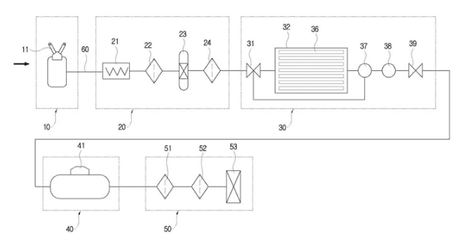
질소발생기
질소발생기
모델명
-
시리즈
하우징
전체보기
시리즈 전체보기
자료
-
구매정보
(주)레베산업
필터하우징, 마이크로필터, 스트레이너, 산업용필터, 여과기장치 취급
연락처
052-265-9752
이메일
lebeind@unitel.co.kr
상품정보에 문제가 있나요?
정보수정 / 삭제요청
코머신은 제품 판매자가 아닙니다.
법적고지 및 안내
제조사
(주)레베산업
[
바로가기
]
제품 타입
기계
브랜드
-
SKU
47181
제품명
질소발생기
모델명
-
사이즈
-
중량
-
제품 상세 정보
이 기업의 다른 제품
바로가기
Oil Condition Monitoring System
Bag Filter Multi Type 하우징
Hydraulic Filter
Process Filter
Cartridge Multi Type 하우징
Cartridge Single Type 하우징
Bag Filter Single Type 하우징
Industrial / Home Type
Compressed Air & Gas Filtration
Racor Filter
스트레이너
기타 제작품
오일정유기
백 필터
데미스터
1
/
4
(주)레베산업
Biz Home
필터하우징, 마이크로필터, 스트레이너, 산업용필터, 여과기장치 취급
문의하기